QUESTION
I'm wanting to try and fix an oil leak from on my Excel and will start by replacing the cam cover gaskets.
It is an 84 model and therefore the Low Compression 912 engine.
I can see you have some gaskets listed for the S1 and S2 Esprit that you have manufactured.
Am I correct in thinking these will suit my Excel?
B.V. - Sydney, NSW, Australia
ANSWER
If your Excel has a build date of 1984 then you should have the round type cam covers as standard equipment.
However occasionally we have come across owners who have changed the cam housing and covers to the later type to cure oil leaks.
Your Lotus Excel cam covers should look like the engine in the attached photographs below.

If you look at the rear of the cam cover you can see it has a curved type cover fitted on this freshly built engine.
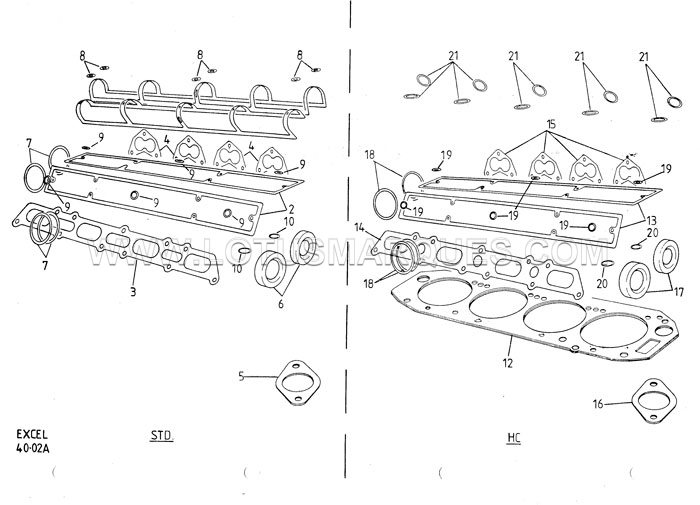
You are correct in your previous comment and the same gaskets fit Lotus Esprit S1, S2 and early Excel standard compression engines.

The cam cover gasket part number is B907E0001Z and is applicable to all vehicles prior to '86 M.Y and engine number 22903
Lotus Marques manufactures a superior cam cover gasket from a robust material that allows it to be re-used.
The later high compression engines have a flat cam cover that employs a much narrower gasket, part number A912E2040Z
Installing early cam covers and gaskets to guarantee an oil tight engine appears to be an impossible task as the gasket is prone to misalignment.
If you are looking for a simple but effective way to ensure you have no oil leaks, then check out our workshop procedure for oil tight covers.
Copyright © 2013 Lotus Marques
I'm wanting to try and fix an oil leak from on my Excel and will start by replacing the cam cover gaskets.
It is an 84 model and therefore the Low Compression 912 engine.
I can see you have some gaskets listed for the S1 and S2 Esprit that you have manufactured.
Am I correct in thinking these will suit my Excel?
B.V. - Sydney, NSW, Australia
ANSWER
If your Excel has a build date of 1984 then you should have the round type cam covers as standard equipment.
However occasionally we have come across owners who have changed the cam housing and covers to the later type to cure oil leaks.
Your Lotus Excel cam covers should look like the engine in the attached photographs below.

If you look at the rear of the cam cover you can see it has a curved type cover fitted on this freshly built engine.
You are correct in your previous comment and the same gaskets fit Lotus Esprit S1, S2 and early Excel standard compression engines.

The cam cover gasket part number is B907E0001Z and is applicable to all vehicles prior to '86 M.Y and engine number 22903
Lotus Marques manufactures a superior cam cover gasket from a robust material that allows it to be re-used.
The later high compression engines have a flat cam cover that employs a much narrower gasket, part number A912E2040Z
Installing early cam covers and gaskets to guarantee an oil tight engine appears to be an impossible task as the gasket is prone to misalignment.
If you are looking for a simple but effective way to ensure you have no oil leaks, then check out our workshop procedure for oil tight covers.
Copyright © 2013 Lotus Marques


